Пенал для огнетушителя – специальный бокс, предназначенный для хранения и защиты огнетушителя, закрепленного на транспортном средстве. Пенал предназначен для установки на транспортных средствах, перевозящих опасные грузы.
В соответствии с пунктом 8.1.4.5 ДОПОГ, огнетушители должны устанавливаться на транспортных единицах таким образом, чтобы они в любое время были легко доступны для экипажа транспортного средства. Установка должна производиться так, чтобы огнетушители были защищены от воздействия погодных условий во избежание снижения их эксплуатационной надежности.
VIDEO
Технические характеристики
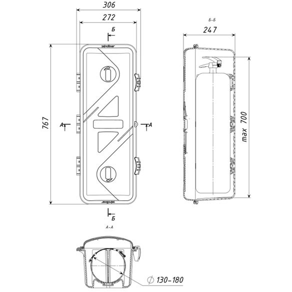
габаритные размеры – 767х306х247 мм;
материал – полипропилен, устойчивый к метеоусловиям, ударам и УФ излучению;
масса – не более 4,5 кг;
диапазон температур – от -40ºС до +50ºС;
защита от пыли и влаги – IP55;
размеры вмещаемых огнетушителей – от ОП4 до ОП10* .
Основные размеры приведены на рис. 1.
Рис. 1
Состав изделия и комплектность
Пенал для огнетушителя состоит из корпуса, крышки, защелок крышки, хомутов и ремней для фиксации огнетушителя.
В комплект поставки входят 5 изделий, каждое состоит из:
Корпус пенала;
Крышка;
Защелки (2 шт.);
Хомуты (3 шт.);
Ремни (3 шт.);
Комплект крепежа.
Внешний вид товара и его конструкция может отличаться от представленного на рисунках. Предприятие-изготовитель оставляет за собой право на внесение изменений в конструкцию, дизайн и комплектацию товара, не ухудшающих его качество.
Особенности конструкции, устройство и принцип работы
Огнетушитель надежно крепится в корпусе пенала при помощи хомутов и гибких ремней. Пенал для огнетушителя монтируется на корпусе грузового автомобиля через усиленные точки креплений на дне корпуса (24 шт.) и позволяет за короткое время получить доступ к огнетушителю, в случае возникновения пожара.
Особенности конструкции:
смотровые окна в крышке, позволяющие инспектировать наличие огнетушителя в пенале, его целостность и корректность положения;
возможность запирания навесным замком;
уплотнитель по периметру корпуса, предотвращающий попадание пыли и влаги внутрь пенала;
возможность крепления для левого и правого варианта открытия крышки;
гибкие хомуты и ремни, позволяющие надежно фиксировать широкий перечень огнетушителей разных производителей;
возможность размещения логотипа компании на крышке пенала.